
26
MAKING COPIES
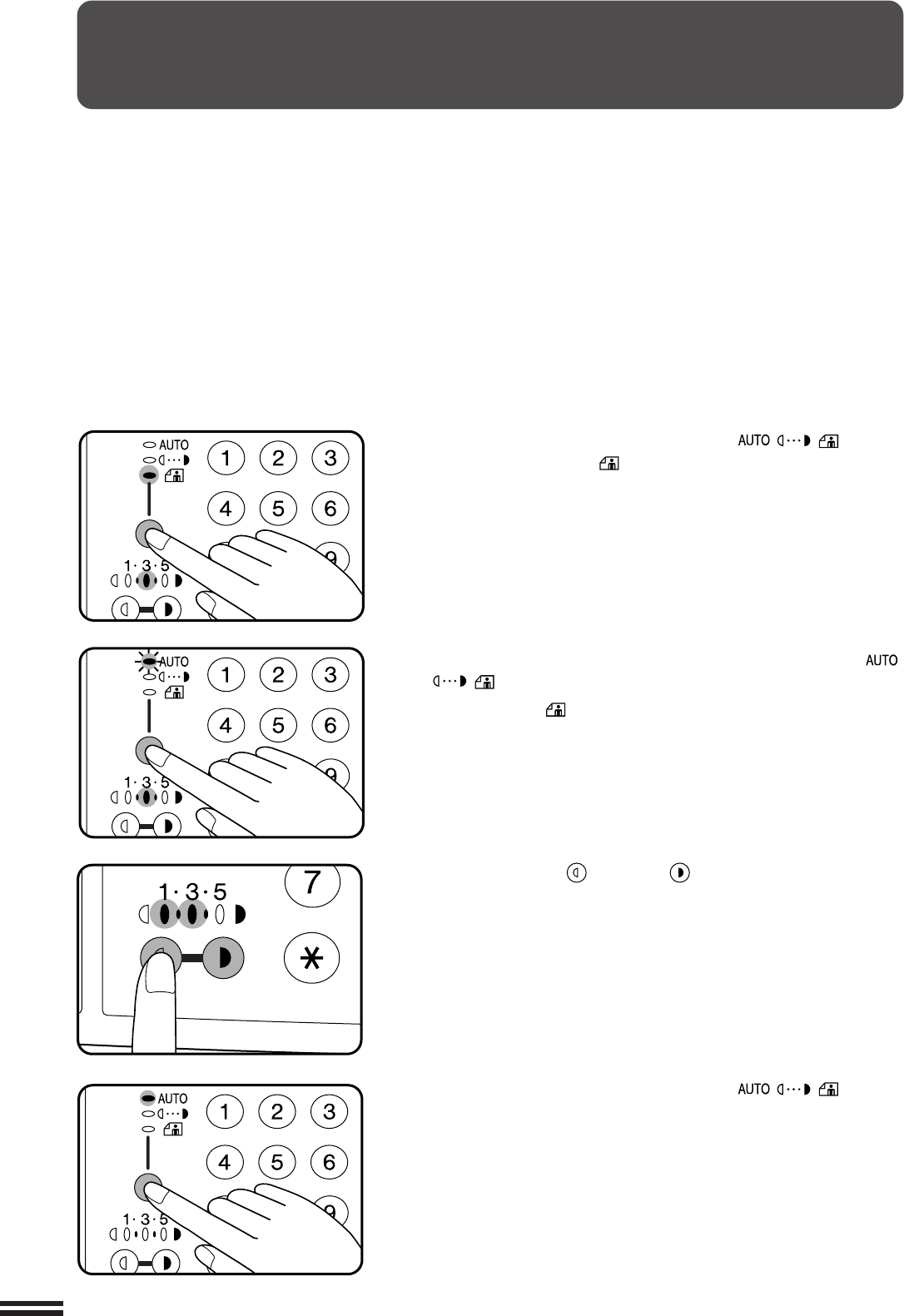
Automatic exposure adjustment
AUTOMATIC EXPOSURE ADJUSTMENT
The automatic exposure level can be adjusted to suit your copying needs.
This level is set for copying from the original table and copying from the
optional SPF respectively. To set the level for the optional SPF, place an
original in the document feeder tray and make sure that the SPF indicator
lights up before proceeding to step 1. To set the level for the original table,
ensure that the SPF indicator does not light up.
1
Press the AUTO/MANUAL/PHOTO ( / / ) key to
select the PHOTO ( ) mode.
2
Press and hold down the AUTO/MANUAL/PHOTO ( /
/ ) key for approximately 5 seconds.
●
The PHOTO ( ) indicator will go out and the AUTO indicator will
begin to blink.
●
One or two exposure indicators corresponding to the current automatic
exposure level will light up. The factory default setting is level “3”.
3
Press the light ( ) or dark ( ) key to lighten or darken
the automatic exposure level as desired.
4
Press the AUTO/MANUAL/PHOTO ( / / ) key.
●
The AUTO indicator will stop blinking and will light up steadily.
●
This automatic exposure level will remain in effect until you change
it again by this procedure.
Komentarze do niniejszej Instrukcji