
4–11
DK F
MODE D’ECONOMIE DE TONER
TONER SPAREINDSTILLING
Ce mode permet de réduire la consommation de toner
d’environ 10% dans les modes d’exposition automati-
que (
Z
) et manuel (
=
). Les copies seront plus
claires, mais cependant acceptables pour l’utilisation
générale. La sélection de ce mode n’affecte pas le
mode photo (
6
). Procédez comme suit pour régler le
niveau d’alimentation en papier.
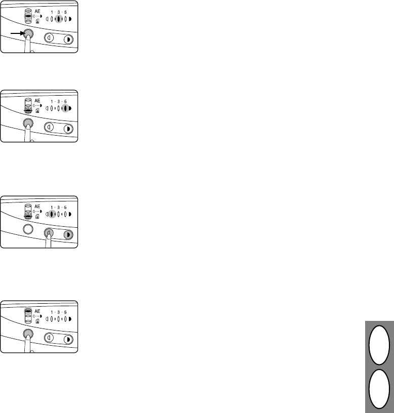
2. Maintenez enfoncée la touche de
sélection mode d’exposition pendant
5 secondes environ.
• Le témoin de manuel (
=
)
s’éteint et le témoin de photo (
6
)
se met à clignoter.
• Le témoin d’exposition marqué «5»
s’allume pour indiquer que vous
vous trouvez dans le mode d’ali-
mentation standard en toner.
3. Pour passer dans le mode d’écono-
mie de toner, appuyez sur la touche
de clair (
{
).
• Le témoin d’exposition marqué «1»
s’allume pour indiquer que vous
vous trouvez dans le mode d’éco-
nomie de toner.
1. Appuyez sur la touche de sélection
mode d’exposition pour choisir le
mode manuel (
=
).
4. Appuyez deux fois sur la touche de
sélection mode d’exposition.
• Le témoin de photo (
6
) arrête de
clignoter et le témoin auto (
Z
)
reste continuellement allumé. Vous
vous trouvez donc alors en mode
d’économie de toner.
• Pour revenir au mode standard,
répétez les mêmes opérations,
mais utilisez la touche de foncé
(
}
) à l’étape 3 pour choisir le ni-
veau d’exposition «5».
➞ touche de sélection
mode d’exposition
➞ Knap til valg af ekspone-
ringsniveau
Denne indstilling reducerer forbruget af toner med ca.
10% i den automatiske (
Z
) og den manuelle (
=
)
eksponeringsindstilling. Kopierne bliver lysere men
stadig tilfredsstillende til almindelig brug. Valget af
denne indstilling påvirker ikke foto (
6
) indstillingen.
Følg nedenstående procedure for at indstille tonings-
niveauet.
1. Tryk på knappen til valg af ekspone-
ringsniveau og vælg den manuelle
(
=
) indstilling.
2. Tryk og hold knappen til valg af ekspo-
neringsniveau i ca. 5 sekunder.
• Den manuelle indikator (
=
)
slukker og fotoindikatoren (
6
) be-
gynder at blinke.
• Eksponeringsindikatoren „5“ lyser,
visende at standard tonerindstillin-
gen er aktiv.
3. For at indstille toner spareindstillin-
gen, trykkes på lys knappen (
{
).
• Eksponeringsindikatoren „1“ lyser,
visende at toner spareindstillingen
er valgt.
4. Tryk to gange på knappen til valg af
eksponeringsniveau.
• Fotoindikatoren (
6
) holder op med
at blinke og autoindikatoren (
Z
)
lyser konstant. Toner spareindstil-
lingen er nu aktiv.
• For at vende tilbage til standard-
indstillingen gentages denne pro-
cedure, men mørk knappen (
}
)
trykkes for at vælge eksponerings-
niveau „5“ i trin 3.
Komentarze do niniejszej Instrukcji