
37
Unit price
You can program unit prices up to a maximum of six digits (9999.99). Even if a department is not programmed
to allow the entry of preset unit prices in functional programming (job #2110), the department is automatically
changed to allow the entry of preset unit prices by this programming entry.
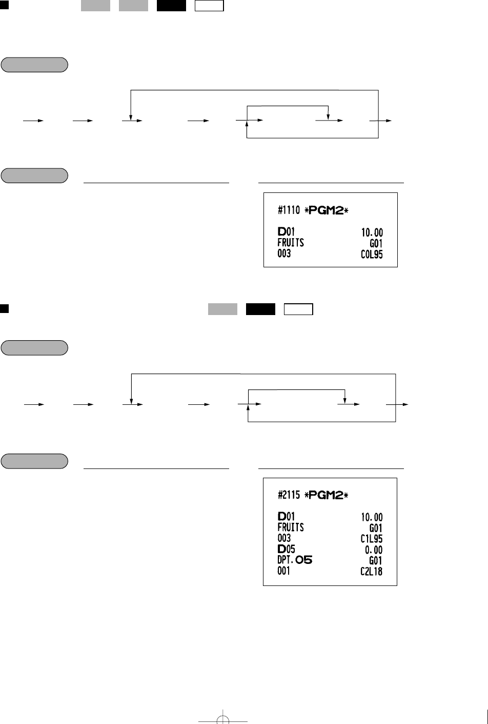
Commission group assignment
Your machine allows you to assign a commission group (1 – 9) to each department.
2115
.≈
1
≈
1
:
5
≈
2
:
;
PrintKey operation
2115
.
≈
≈:
;
Dept. code
(1 - 99)
Commission group
(1 - 9)
To program for another dept.
To program zero (for no commission)
To program for the following dept.
Direct2115
PGM 2
1110
.≈
1
≈
1000
:
;
PrintKey operation
1110
.
≈
≈:
;
Dept. code
(1 - 99)
Unit price
(max. 6 digits)
To program for another dept.
To program zero
To program for the following dept.
Direct1110
PGM 2PGM 1
FOR THE MANAGER-1-A410/A420 02.4.20 6:48 PM Page 37
Komentarze do niniejszej Instrukcji