
134
Menú ADJUSTMENT
Cuando se utiliza LL-172G con una conexión
digital, no es necesario este ajuste de menú.
AUTO
Cuando se selecciona [AUTO] con el botón , se
ajustan automáticamente las selecciones
[CLOCK], [PHASE], [H-POS] y [V-POS].
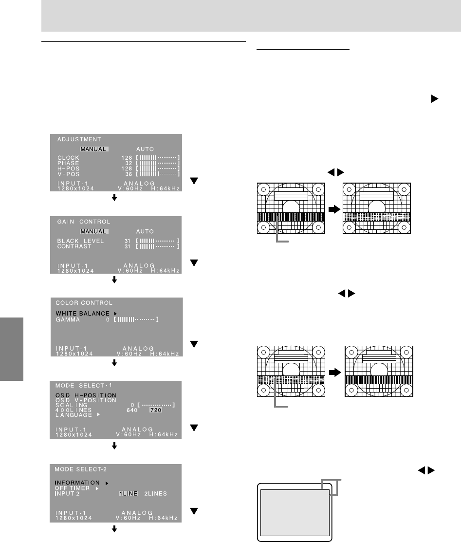
CLOCK
En la figura siguiente se muestra cómo efectuar el
ajuste de forma que no se genere un parpadeo
vertical. (botones )
PHASE
En la figura siguiente se muestra cómo efectuar el
ajuste de forma que no se genere un parpadeo
horizontal. (botones )
Nota:
- Los ajustes de [PHASE] deberían realizarse sólo
después de haber ajustado correctamente
[CLOCK].
H-POS (posición horizontal) y V-POS (posición
vertical)
Para centrar el Patrón de ajuste dentro de los límites
de la pantalla, ajuste los valores a izquierda/derecha
(H-POS) y arriba abajo (V-POS). (botones )
Ajuste de pantalla manual
1. En primer lugar aparece una imagen que pone
toda la pantalla muy clara. (p.133)
2. Haga que aparezca el menú OSD pulsando el
botón MENU.
(Por ejemplo: Pantalla de LL-172G que se mostrará)
Menú ADJUSTMENT
MENU
Menú GAIN CONTROL
MENU
Menú COLOR CONTROL
MENU
Menú MODE SELECT-1
MENU
Menú MODE SELECT-2
MENU
Se cierra el menú OSD.
Notas:
- Cuando se utiliza LL-172G con una conexión
digital, no son necesarios los ajustes de menú
ADJUSTMENT y GAIN CONTROL.
- El menú OSD desaparece automáticamente unos
30 segundos después de la última instrucción.
-
En este capítulo se describe cómo ajustar la pantalla
utilizando el Patrón de ajuste (para Windows).
Ajuste de la pantalla
Parpadeo vertical
Parpadeo horizontal
Marco de la pantalla
Patrón de
ajuste
Seleccione
la opción
pulsando el
botón
/ MODE.
Seleccione
la opción
pulsando el
botón
/ MODE.
Seleccione
la opción
pulsando el
botón
/ MODE.
Seleccione
la opción
pulsando el
botón
/ MODE.
Seleccione
la opción
pulsando el
botón
/ MODE.
172AG_es.PMD 3/24/2004, 11:44 AM134
Komentarze do niniejszej Instrukcji