
НАИМЕНОВАНИЕ УЗЛОВ АППАРАТА И ОРГАНОВ УПРАВЛЕНИЯ
114
■
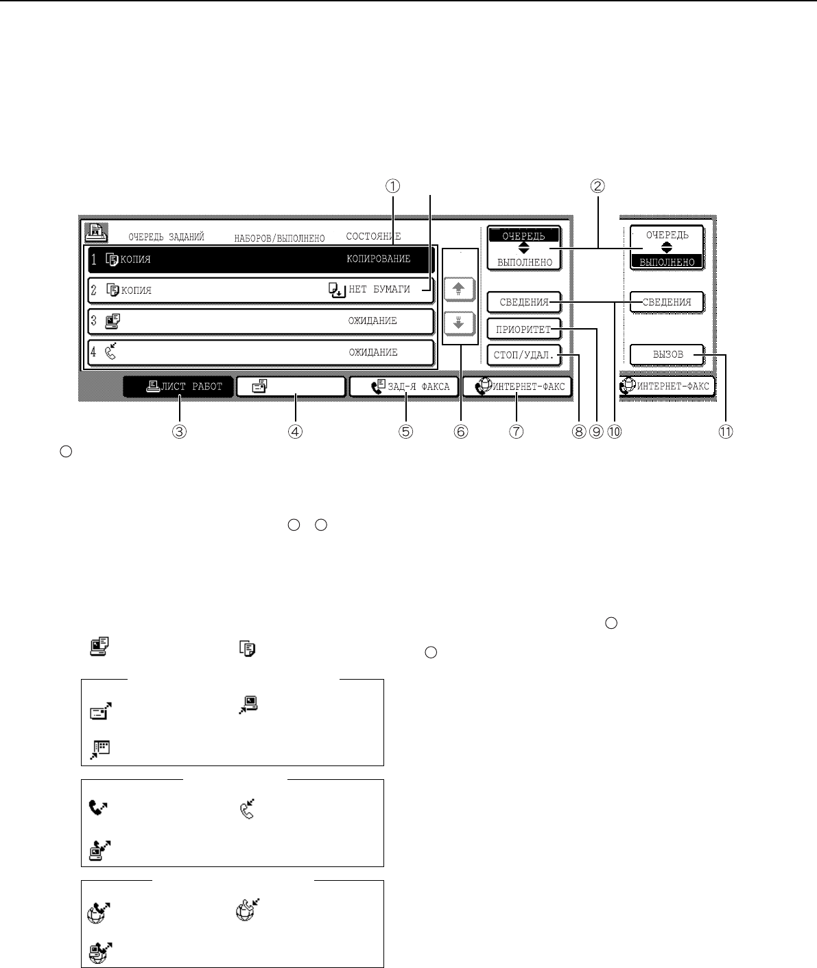
Экран состояния задания (общий для печати, копирования, факса, сетевого
сканирования и Интернет факса)
Этот экран показывается, когда на панели управления нажата кнопка [Состояние задания].
На экране отображается "Очередь" (показываются сохраненные задания и текущее задание) или список
заданий "Выполнено" (показываются выполненные задания). Данный экран используется для проверки
заданий, переноса задания вверх очереди или удаления задания.
Списоê заданий
Поêазанные задания в списêе заданий, являются сами по себе
êнопêами. Чтобы преêратить печать или дать заданию более
высоêий приоритет печати, выберите задание, приêоснóвшись
ê соответствóющей заданию êнопêе, и выполните необходимые
операции, использóя êнопêи описанные в и .
Здесь поêазывается теêóщее задание и задания, ожидающие
выполнения. Пиêтоãраммы слева от заданий в очереди
заданий поêазывают тип работы. Подсвечена пиêтоãрамма
печати сохраненноãо доêóмента.
Заметим, что пиêтоãрамма не подсвечивается во время
повторной передачи задания на отправêó фаêса/изображения.
*1 Надпись "Нет бóмаãи" на дисплее состояния
задания
Если на дисплее состояния задания появляется надпись "Нет
бóмаãи", значит для данноãо задания, во всех лотêах
отсóтствóет бóмаãа необходимоãо формата. В этом слóчае
задание бóдет приостановлено, поêа не бóдет заãрóжена
необходимая бóмаãа. По возможности, начнет выполняться
дрóãое сохраненное задание. (Дрóãое задание не бóдет
печататься, если бóмаãа заêончится во время печати). Если
Вам нóжно изменить формат бóмаãи, из-за тоãо, что нет
бóмаãи определенноãо формата, приêоснитесь ê êнопêе
теêóщеãо задания, чтобы выбрать еãо и затем приêоснитесь ê
êнопêе [Сведения], описанной в .
Кнопêа выбора режима
Переêлючает дисплей списêа заданий междó "Очередь" и
"Выполнено".
"Очередь": Поêазывает сохраненные задания и
выполняющееся задание.
"Выполнено": Поêазывает выполненные задания.
Ôàéëû, ñîõðàíåííûå ñ èñïîëüçîâàíèåì ôóíêöèé "Ôàéë" è
"Áûñòðîå ñîõðàí" è çàâåðøåííûå çàäàíèÿ ïî ïåðåñûëêå,
ïîÿâÿòñÿ íà ýêðàíå âûïîëíåííûõ çàäàíèé â âèäå êíîïîê.
Åñëè ïðèêîñíóòüñÿ ê êíîïêàì çàäàíèé "Ôàéë" è "Áûñòðîå
ñîõðàí", à çàòåì ê êíîïêå [Âûçîâ], òî ìîæíî âûçâàòü
âûïîëíåííûå çàäàíèÿ è âíîâü èõ ðàñïå÷àòàòü èëè ïåðåñëàòü.
Åñëè ïðèêîñíóòüñÿ ê êíîïêå âûïîëíåííîãî çàäàíèÿ ïî
ïåðåñûëêå, à çàòåì ê êíîïêå [Ñâåäåíèÿ], òî ìîæíî
ïðîâåðèòü ðåçóëüòàò ïåðåñûëêè.
JOB QUEUE
COPY
COPY
Suzuki
066211221
STATUS
020 / 001
020 / 000
020 / 000
002 / 000
PRINT JOB
E-MAIL/FTP
FAX JOB
INTERNET-FAX
INTERNET-FAX
JOB QUEUE
COMPLETE
JOB QUEUE
COMPLETE
DETAIL
PRIORITY
STOP/DELETE
DETAIL
CALL
PAPER EMPTY
WAITING
WAITING
1/1
SETS / PROGRESS
COPYING
Экран "Очередь заданий"
Экран заданий
"Выполнено"
*1
E-MAIL/FTP
1
8 9
Режим печати Режим êопирования
Задание сêаниро-
вания в эл. почтó
Задание
сêанирования на FTP
Задание сêанирования в Desktop
Задание посылêи
фаêса
Задание полóчения
фаêса
Задание посылêи PC-фаêс
Задание посылêи
Интернет фаêса
Задание приема
Интернет фаêса
Задание посылêи PC-Интернет фаêса
Режим Интернет факса
Режим FTP/Электронной почты
Режим факса
10
2
dragon_01.fm 14 ページ 2004年9月10日 金曜日 午後6時22分
Komentarze do niniejszej Instrukcji