
Computer-controlled functions
18 ProtoMat 95s/II
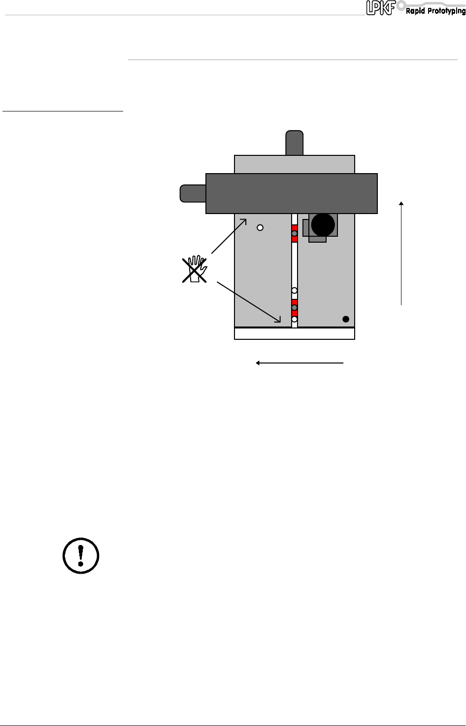
4.3 Machine orientation
Description of the main machine positions:
fig. 4: LPKF ProtoMat 95s/II: the x-
axis has the longer traverse
path
Caution! Do no put fingers or any items into the movement range.
1
- PAUSE position.
The plotter head travels to this point to load or turn the material to be machined.
2
- HOME position.
This is located on the machine's axis of symmetry (registration hole system) and acts as the
reference position for LPKF BoardMaster.
3
- Registration hole slide with hole for alignment pin.
4
- Reference pin for the front registration hole strip.
The front registration hole slide butts against the stop.
5
- Transfer station.
The tool is automatically transferred at this position.
6
- Auxiliary clamp (picks up/sets down the tools)
7
- Tool magazine (30 tool capacity)
7a
.Tool position 1
7b
.Tool position 30
+ x
+ y
2
3
4
6
.......................................
7b
7a
Komentarze do niniejszej Instrukcji